neubert racing teile catalog 0
Anmelden Registrieren Filter
Moto-CrossQuadStreetRoller
neubert racing teile catalog
Anmelden Registrieren
Yamaha Logo ktm logo husqvarna logo gasgas logo
Moto-Cross
Quad
Street
Roller
0
ANLASSER
LUFTMEMBRANVENTIL
 NOCKENWELLE / VENTILE
OELKUEHLER
LUFTEINLASS
OELWANNE / OELPUMPE
 SCHALTWELLE / SCHALTHEBEL
STEUERKETTE
WASSERPUMPE
ZYLINDERKOPF
VENTILDECKEL
ANLASSERKUPPLUNG
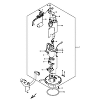
KRAFTSTOFFPUMPE
DICHTUNGSSATZ
DROSSELKLAPPENGEHAEUSE
DROSSELKLAPPE / SCHLAUCHANSCHLUSS
GETRIEBE
KUEHLER
KUEHLERSCHLAEUCHE
KUPPLUNG
AUSGLEICHSWELLE
 KURBELWELLENGEHAEUSE
 KURBELWELLENGEHAEUSEDECKEL
 KURBELWELLE / KOLBEN
LICHTMASCHINE
LUFTFILTER
  1. Suzuki
  2. 2006
  3. GSX-R 750
  4. MOTOR

GSX-R 750 2006
MOTOR

ANLASSER
LUFTMEMBRANVENTIL
NOCKENWELLE / VENTILE
OELKUEHLER
LUFTEINLASS
OELWANNE / OELPUMPE
SCHALTWELLE / SCHALTHEBEL
STEUERKETTE
WASSERPUMPE
ZYLINDERKOPF
VENTILDECKEL
ANLASSERKUPPLUNG
KRAFTSTOFFPUMPE
DICHTUNGSSATZ
DROSSELKLAPPENGEHAEUSE
DROSSELKLAPPE / SCHLAUCHANSCHLUSS
GETRIEBE
KUEHLER
KUEHLERSCHLAEUCHE
KUPPLUNG
AUSGLEICHSWELLE
KURBELWELLENGEHAEUSE
KURBELWELLENGEHAEUSEDECKEL
KURBELWELLE / KOLBEN
LICHTMASCHINE
LUFTFILTER
Pos Menge Artikelnummer Bezeichnung Farbe Größe Preis/Stk
ANLASSER
LUFTMEMBRANVENTIL
NOCKENWELLE / VENTILE
OELKUEHLER
LUFTEINLASS
OELWANNE / OELPUMPE
SCHALTWELLE / SCHALTHEBEL
STEUERKETTE
WASSERPUMPE
ZYLINDERKOPF
VENTILDECKEL
ANLASSERKUPPLUNG
KRAFTSTOFFPUMPE
DICHTUNGSSATZ
DROSSELKLAPPENGEHAEUSE
DROSSELKLAPPE / SCHLAUCHANSCHLUSS
GETRIEBE
KUEHLER
KUEHLERSCHLAEUCHE
KUPPLUNG
AUSGLEICHSWELLE
KURBELWELLENGEHAEUSE
KURBELWELLENGEHAEUSEDECKEL
KURBELWELLE / KOLBEN
LICHTMASCHINE
LUFTFILTER

Variante auswählen

Für die Maschine GSX-R 750 sind unterschiedliche Ausstattungen vorhanden. Bitte wählen Sie ihre gewünschte Variante aus.

FARBE
Unternehmen
  • Impressum
  • Allgemeine Geschäftsbedingungen
Informationen
  • Cookie-Einstellungen
  • Widerruf
  • Widerruf-Formular
  • Datenschutz
  • Newsletter abbestellen
  • Altöl
  • Batterieverordnung
Mein Neubert-Racing
  • Meine Daten
  • Meine Bestellungen
  • mobile.de   Instagram
  • ktm hsq gasgas
Neubert Racing Shop
Inh. Nicky Neubert, Südstrasse 2, 04654 Frohburg, Deutschland
Telefon: 0049 (0) 34348 / 55 910 | eMail: info@neubert-racing.com
Beta
  • Moto-Cross
  • Roller
  • Street
GASGAS
  • Moto-Cross
  • Quad
  • Street
Husaberg
  • Moto-Cross
  • Street
Husqvarna
  • Moto-Cross
  • Street
KTM
  • Moto-Cross
  • Quad
  • Street
Kawasaki
  • Moto-Cross
  • Quad
  • Street
Sherco
  • Moto-Cross
  • Street