MXU 300 Quads / ATVFahrwerk
Pos
Menge
Artikelnr
Bezeichnung
Preis
Kardanantrieb
Scheinwerfer
Tachometer
Lenker, Spiegel & Bowdenzüge
Hauptbremszylinder vorne & Bremsschläuche
Verkleidungen vorne
Lenkung
Räder vorne mit Bremse
Räder hinten mit Bremse
Sitz & Bordwerkzeug
Tank & Benzinhahn
Batterie
Verkleidungen hinten
Luftfilter
Auspuff
Hauptbremszylinder hinten, Fußbremse & Schalthebel
Federbein, Querlenker rechts
Federbein, Querlenker links
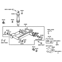
Schwinge und Federbein hinten
Kardangetriebe & Hinterachse
Blinker vorne
Rücklicht
Elektrische Anlage & Schlüssel
Rahmen Chassis
Rahmenteile / Gepäckträger
Aufkleber & Hinweis - Schilder
Aufkleber & Lackstifte
Feststellbremse, geänderte Teile