Yager 50 Fzg. bis 50 ccmFahrwerk
Pos
Menge
Artikelnr
Bezeichnung
Preis
Fahrzeugansicht
Artikelnr: 30248440
Position: 796
Teilenummer: 795_796
Menge: 1
Gesamtübersicht ET-Katalog
Artikelnr: 30248441
Position: 797
Teilenummer: 795_797
Menge: 1
Luftleitblech & Zylinderabdeckung
Scheinwerfer
Tachometer
Griffe, Spiegel, Lenker & Lenkerverkleidung
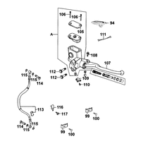
Hauptbremszylinder vorne
Vordere Verkleidung & Trittbrett
Gabeljoch, Lenkkopflager & Gabel
Vorderrad mit Bremssattel
Hinterrad mit Bremse
Sitz & Bordwerkzeug
Tank & Benzinpumpe
Batterie & Anlasserrelais
Hintere Verkleidungen & Helmbox
Luftfilter & Gehäuse
Ständer & Kickstarterhebel
Stossdämpfer hinten
Blinker vorne
Rücklicht & hintere Radabdeckung
Elektrische Anlage & Schloss kpl.
Rahmen & Motorhalter
Aufkleber
Emblems & Aufkleber