Pulsar 125 Fzg. bis 125 ccmFahrwerk
Pos
Menge
Artikelnr
Bezeichnung
Preis
Fahrzeugansicht
Artikelnr: 30252110
Position: 1246
Teilenummer: 1245_1246
Menge: 1
Gesamtübersicht ET-Katalog
Artikelnr: 30252111
Position: 1247
Teilenummer: 1245_1247
Menge: 1
Scheinwerfer
Anbauteile Lenker
Vordere Verkleidungen, Tacho & Drehzahlmesser
Lenker, Gabeljoch & Halter
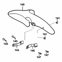
Kotflügel vorne
Gabel & Gabel-Einzelteile
Bremssattel vorn
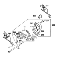
Vorderrad
Bremse hinten
Hinterrad
Tank und Benzinhahn
Sitzbank & Gepäckträger
Hintere Verkleidungen
Luftfilter & Batterie
Auspuff
Hauptständer & Pedale
Hinterradschwinge
Stossdämpfer hinten
Kotflügel hinten & Werkzeug
Blinker
Rücklicht
Elektrische Anlage & Schloss kpl.
Rahmen & Halter
Aufkleber
Emblems & Aufkleber