65 SX 2026Fahrwerk
Pos
Menge
Artikelnr
Bezeichnung
Preis
TELEGABEL, GABELBRÜCKE
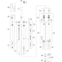
TELEGABEL ZERLEGT
LENKER, ARMATUREN
RAHMEN
FEDERBEIN
FEDERBEIN ZERLEGT
SCHWINGARM
AUSPUFFANLAGE
LUFTFILTER
TANK, SITZBANK
MASKE, KOTFLÜGEL
DEKOR
VORDERRAD
HINTERRAD
BETÄTIGUNG VORDERBREMSE
BETÄTIGUNG HINTERBREMSE
BREMSZANGE VORNE
BREMSZANGE HINTEN
BEIPACK
WP SCHEIBEN FÜR SETTING