neubert racing teile catalog 0
Anmelden Registrieren Filter
Moto-CrossQuadStreetRoller
neubert racing teile catalog
Anmelden Registrieren
Yamaha Logo ktm logo husqvarna logo gasgas logo
Moto-Cross
Quad
Street
Roller
0
AUSPUFF
RAHMEN
MOTORAUFHÄNGUNG
RAHMENBEFESTIGUNG
SCHWINGENARM
AUFHÄNGUNG/STOßDÄMPFER
FUßRASTE
SCHUTZBLECH
STÄNDER
REIFEN
VORDERRAD
HINTERRAD
BREMSPEDAL
HAUPTBREMSZYLINDER VORDERRAD
VORDERRADBREMSE
LENKER
VORDERRADGABEL
BENZINTANK
SITZ
INSTRUMENTEN
KABEL
SEITENVERKLEIDUNG/KETTENSCHUTZ
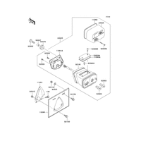
SCHEINWERFER
HECKLEUCHTE
BLINKER
GEHÄUSE ELEKTRIK
LABEL
AUFKLEBER
KETTEN  KIT
  1. Kawasaki
  2. 2005
  3. VN800 CLASSIC
  4. FAHRWERK

VN800 CLASSIC 2005
FAHRWERK

AUSPUFF
RAHMEN
MOTORAUFHÄNGUNG
RAHMENBEFESTIGUNG
SCHWINGENARM
AUFHÄNGUNG/STOßDÄMPFER
FUßRASTE
SCHUTZBLECH
STÄNDER
REIFEN
VORDERRAD
HINTERRAD
BREMSPEDAL
HAUPTBREMSZYLINDER VORDERRAD
VORDERRADBREMSE
LENKER
VORDERRADGABEL
BENZINTANK
SITZ
INSTRUMENTEN
KABEL
SEITENVERKLEIDUNG/KETTENSCHUTZ
SCHEINWERFER
HECKLEUCHTE
BLINKER
GEHÄUSE ELEKTRIK
LABEL
AUFKLEBER
KETTEN KIT
Pos Menge Artikelnummer Bezeichnung Farbe Größe Preis/Stk
AUSPUFF
RAHMEN
MOTORAUFHÄNGUNG
RAHMENBEFESTIGUNG
SCHWINGENARM
AUFHÄNGUNG/STOßDÄMPFER
FUßRASTE
SCHUTZBLECH
STÄNDER
REIFEN
VORDERRAD
HINTERRAD
BREMSPEDAL
HAUPTBREMSZYLINDER VORDERRAD
VORDERRADBREMSE
LENKER
VORDERRADGABEL
BENZINTANK
SITZ
INSTRUMENTEN
KABEL
SEITENVERKLEIDUNG/KETTENSCHUTZ
SCHEINWERFER
HECKLEUCHTE
BLINKER
GEHÄUSE ELEKTRIK
LABEL
AUFKLEBER
KETTEN KIT

Variante auswählen

Für die Maschine VN800 CLASSIC sind unterschiedliche Ausstattungen vorhanden. Bitte wählen Sie ihre gewünschte Variante aus.

Modell
Unternehmen
  • Impressum
  • Allgemeine Geschäftsbedingungen
Informationen
  • Cookie-Einstellungen
  • Widerruf
  • Widerruf-Formular
  • Datenschutz
  • Newsletter abbestellen
  • Altöl
  • Batterieverordnung
Mein Neubert-Racing
  • Meine Daten
  • Meine Bestellungen
  • mobile.de   Instagram
  • ktm hsq gasgas
Neubert Racing Shop
Inh. Nicky Neubert, Südstrasse 2, 04654 Frohburg, Deutschland
Telefon: 0049 (0) 34348 / 55 910 | eMail: info@neubert-racing.com
Beta
  • Moto-Cross
  • Roller
  • Street
GASGAS
  • Moto-Cross
  • Quad
  • Street
Husaberg
  • Moto-Cross
  • Street
Husqvarna
  • Moto-Cross
  • Street
KTM
  • Moto-Cross
  • Quad
  • Street
Kawasaki
  • Moto-Cross
  • Quad
  • Street
Sherco
  • Moto-Cross
  • Street